29 Aralık 2025 Pazartesi
Altın 6143.233 %1.72
BIST 11313.72 %0,17
Dolar 42.9308 %0.03
Euro 50.5706 %0.09
KARAR
2°
İstanbul
Çoğunlukla güneşli
  • Güncel
  • Yazarlar
  • Dünya
  • Ekonomi
  • Kripto Para
  • Spor
  • Hayat
  • Karar Video
  • Görüşler
  • Resmi İlanlar
Foto Galeri
Hayat
Capsler
Spor
Teknoloji
Nostalji
Gündem
Ekonomi
Kültür Ve Sanat
SON DAKİKA :
Son dakika! 2025 yılının kelimesi belli oldu
Son dakika! Bahis soruşturmasında Erden Timur adliyeye sevk edildi
İstanbul'da haftanın ilk iş gününde bazı yollarda trafik yoğunluğu
Sıcak su torbası patladı, genç kızın vücudunun yüzde 25’i yandı! 'Kış aylarında benzer vakalar artıyor'
Yalova'daki IŞİD operasyonuna yayın yasağı getirildi
Özel, CHP'nin sürece dair görüşlerini paylaştı: Demokratikleşme olmadan Kürt sorunu çözülemez
Ankara ve İstanbul’a çok yakın! İster doğa keşfi yapın ister tarih! Bu şehir mutlaka görülmeyi hak ediyor
Sıfır atık projesiyle başladılar, gazeteleri elden geçirdiler! Boş depolar atölyeleri oldu
Haftanın ilk günü İstanbul'da hava nasıl olacak? Kar yağışı olacak mı?
Güllü’nün oğlu Tuğberk Yağız Gülter annesinin ölümüyle ilgili konuştu: Ablam katilse bunu sevgilisi için yapmıştır
  1. Anasayfa
  2. Foto Galeri
  3. Teknoloji
  4. Google milyarderi 'uçan araba'ya 100 milyon dolar yatırdı
10/06/2016 18:01

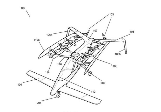
Google milyarderi 'uçan araba'ya 100 milyon dolar yatırdı

Google'ın kurucularından Larry Page, uçan araba geliştiren iki şirkete hatırı sayılır bir yatırım yaptı.

Google milyarderi 'uçan araba'ya 100 milyon dolar yatırdı 1
1/4

Bloomberg Businessweek'in şirkete yakın kaynaklara dayandırdığı haberine göre, milyarder işadamı 2 şirkete 100 milyon dolar (290 milyon TL) yatırım yaptı. 

Google milyarderi 'uçan araba'ya 100 milyon dolar yatırdı 2
2/4

ABD, Kaliforniya merkezli Zee.Aero ve Kitty Hawk isimli iki şirket de elektrikli motora sahip, dikey iniş, kalkış yapabilecek araçlar üzerine çalışmalar yapıyor. 

Google milyarderi 'uçan araba'ya 100 milyon dolar yatırdı 3
3/4

Konuyla ilgili henüz bir resmi açıklama bulunmuyor. Milyarder işadamının bu yatırımın ardından şirketlerdeki ortaklık düzeyine dair bir bilgi de bulunmuyor.

Google milyarderi 'uçan araba'ya 100 milyon dolar yatırdı 4
4/4
Bunlar da İlginizi Çekebilir
Zirvedeki lider değişti! İşte dünyanın en yaşanabilir şehirleri
İşte dünyanın en yaşanabilir şehirleri
Evdeki gizli tehlike! Sevdiğiniz çiçek kedinizin sonunu getirebilir
Evdeki gizli tehlike!
Ayak kokusu kabusunun gizli sorumlusu! Çorabınızdaki tehlikeye dikkat
Ayak kokusu kabusunun gizli sorumlusu!
Mükemmel demin sırrı çözüldü! Tavşan kanı çay için uygulanması gereken altın kural: Bu kez ne su ne de suyun derecesi
Mükemmel demin sırrı çözüldü!
Trafik kurallarını ihlal edenler için yolun sonu göründü!
Trafik kurallarını ihlal edenler için yolun sonu göründü!
Mutfaktaki görünmez tehlike! Isıtıldığında toksik etki yaratan 9 temel besin
Isıtıldığında toksik etki yaratan 9 temel besin
İskenderun’da bir "Anadol" efsanesi: Dededen toruna 48 yıllık sadakat!
İskenderun’da bir "Anadol" efsanesi


©Copyright 2019
Tüm Hakları Saklıdır
KARAR SON DAKİKA
DMCA.com Protection Status
  • HAKKIMIZDA
  • İLETİŞİM
  • KÜNYE
  • YAYIN İLKELERİ
  • KULLANIM ŞARTLARI
  • GIZLILIK BİLDİRİMİ
  • VERİ POLİTİKASI
  • HUKUK AYKIRILIK BİLDİRİMİ
KATEGORİLER
  • Güncel
    • Politika
    • Üçüncü Syfa
    • Türkiye
    • Çevre
    • Eğitim
  • Dünya
    • Orta Doğu
    • Amerika
    • Avrupa
    • Asya
    • Afrika
  • Ekonomi
    • Piyasa
    • Emlak
    • Otomotiv
    • Enerji
    • Sosyal Güvenlik
    • Şirketler
  • Spor
    • Futbol
    • Basketbol
    • Voleybol
    • Atletizm
    • Motor Sporları
    • Diğer
  • Hayat
    • Diziler
    • Magazin
    • Sağlık
    • Kültür Sanat
    • Eğlence
  • Teknoloji
    • Mobil
    • İnternet
    • Sosyal Medya
    • Yazılım
    • Bilim
  • Karar Video
    • Gündem
    • Dizi
    • Sinema
    • Komik
    • İlginç
    • Teknoloji
    • Spor
  • Foto Galeri
    • Hayat
    • Capsler
    • Spor
    • Teknoloji
    • Kültür ve Sanat
    • Gündem
    • Ekonomi
  • Görüşler
  • Yazarlar
SERVİSLER
  • Hava Durumu
  • Namaz Vakitleri
  • Puan Tablosu
  • Dolar Kaç TL
  • Şehir Haberleri
  • Ramazan İmsakiyesi
Google Play Uygulamamız
Apple Store Uygulamamız
Dünyadan en son haberler, Türkiye'den son dakika gelişmeleri, günün öne çıkan gündem haberleri, dünya ekonomi piyasalarından flaş haberler, en yeni spor haberleri ve magazin dünyasından son olaylar Karar.com’da
YUKARI
KARAR
  • Anasayfa
  • Son Dakika
  • Yazarlar
  • Foto Galeri
  • Web Tv
  • Hava Durumu
  • Güncel
  • Dünya
  • Ekonomi
  • Kripto Para
  • Spor
  • Hayat
  • Karar Video
  • Foto Galeri
  • Görüşler
  • Resmi İlanlar
  • Kültür Sanat
  • Şehir Haberleri
  • Yemek Tarifleri
  • Sağlık
  • Teknoloji
  • Karar Nedir
  • Karar Biyografi
  • Kurumsal
  • Künye
  • İletişim
  • Gizlilik İlkeleri
  • Çerez Politikası
  • Kullanım Şartları
© Copyright 2015 KARAR